Login Register

What does hose on intake manifold go to?

Everything on the Volvo S80. Sometimes called an "executive car", the S80 was Volvo's top-of-the-line passenger car. P2 platform.
Post Reply
ektrules
Posts: 7
Joined: 2 March 2016
Year and Model: 2000 s80 2.9l
Location: Texas, US

What does hose on intake manifold go to?

Post by ektrules »

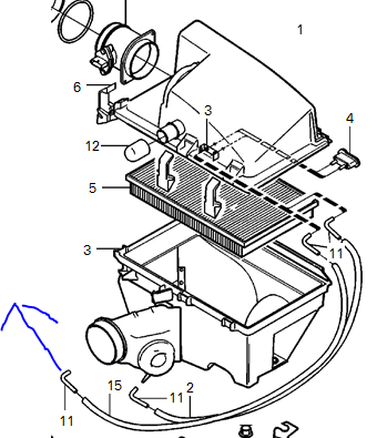
Just bought a 2000 s80 that needs some work (cam seal replacement, and PCV system I think), and I noticed a little bit of cut hose hanging off the intake manifold. Can anybody tell me what this hose goes to, and what it's for?
intake.png
intake.png (21.91 KiB) Viewed 1451 times

majorcode
Posts: 55
Joined: 11 June 2012
Year and Model: 1999
Location: Riyadh

Post by majorcode »

To the engine's Air Filter Box

Regards

ektrules
Posts: 7
Joined: 2 March 2016
Year and Model: 2000 s80 2.9l
Location: Texas, US

Post by ektrules »

Got it. Thanks. Looks like someone rigged it with a piece of an over-sized9 hose on the intake, slid the small hose coming off the filter box into the larger hose coming off the intake, and at some point in time, the small hose slid out of the larger one. If anyone else comes across something like this:
The arrow points to intake:
filterBox.PNG
filterBox.PNG (53.53 KiB) Viewed 1436 times

Post Reply
  • Similar Topics
    Replies
    Views
    Last post