Do any of you know the size of Volvo Driveshaft Flange Bolt size? Is there only one size? The previous owner replaced them with regular bolts and I'm afraid that they will rust.
Is this the right size ?
M8x40mm - 9183941
M8x25mm - 988143
Volvo 99 V70 R Driveshaft AWD bolts 988143 washer 1385088
-
scot850
- Posts: 14893
- Joined: 5 April 2010
- Year and Model: 2000 V70 R
- Location: Calgary, Alberta, Canada
- Has thanked: 1850 times
- Been thanked: 1710 times
Sorry for my lack of understanding, do you mean the bolt in the end of the front axles at the hub, or the prop-shaft bolts?
Are you talking about the ones with the internal hex heads?
Neil.
Are you talking about the ones with the internal hex heads?
Neil.
2006 V70 2.5T AWD Polestar tune
2000 V70 R - still being an endless PITA
2006 XC70 - Our son now has this and still parked in our garage
2003 Toyota 4Runner V8 Limited
2015 Kia Sportage EX-L - Sold
1993 850 GLT -Sold
1998 V70 XC - Sold
1997 Volvo 850 SE NA - Went to niece in California - Sold
2000 V70 SE NA - Sold
2000 V70 R - still being an endless PITA
2006 XC70 - Our son now has this and still parked in our garage
2003 Toyota 4Runner V8 Limited
2015 Kia Sportage EX-L - Sold
1993 850 GLT -Sold
1998 V70 XC - Sold
1997 Volvo 850 SE NA - Went to niece in California - Sold
2000 V70 SE NA - Sold
- kklepack
- Posts: 119
- Joined: 5 January 2014
- Year and Model: 2016 XC60
- Location: 60706, Norridge
- Has thanked: 12 times
- Been thanked: 5 times
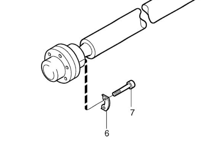
Sorry for not being clear yes prop-shaft bolts internal hex heads number 7
I need the washers - number 6 as well
- Attachments
-
- Screenshot from 2020-06-23 13-06-06.png (82.35 KiB) Viewed 1658 times
-
scot850
- Posts: 14893
- Joined: 5 April 2010
- Year and Model: 2000 V70 R
- Location: Calgary, Alberta, Canada
- Has thanked: 1850 times
- Been thanked: 1710 times
If you don't still have the washers then yes you will need them too. They do not have locking tabs so not sure what the purpose is but perhaps the flanges needed re-inforcing?
Neil.
Neil.
2006 V70 2.5T AWD Polestar tune
2000 V70 R - still being an endless PITA
2006 XC70 - Our son now has this and still parked in our garage
2003 Toyota 4Runner V8 Limited
2015 Kia Sportage EX-L - Sold
1993 850 GLT -Sold
1998 V70 XC - Sold
1997 Volvo 850 SE NA - Went to niece in California - Sold
2000 V70 SE NA - Sold
2000 V70 R - still being an endless PITA
2006 XC70 - Our son now has this and still parked in our garage
2003 Toyota 4Runner V8 Limited
2015 Kia Sportage EX-L - Sold
1993 850 GLT -Sold
1998 V70 XC - Sold
1997 Volvo 850 SE NA - Went to niece in California - Sold
2000 V70 SE NA - Sold
- kklepack
- Posts: 119
- Joined: 5 January 2014
- Year and Model: 2016 XC60
- Location: 60706, Norridge
- Has thanked: 12 times
- Been thanked: 5 times
In case someone else has the same question.
These are the part number I was looking for and FCP confirmed that they will fit my car. Thanks all
#6 DRIVE SHAFT WASHER PART NUMBER: 1385088
#7 DRIVE SHAFT BOLT PART NUMBER: 988143
- abscate
- MVS Moderator
- Posts: 35301
- Joined: 17 February 2013
- Year and Model: 99: V70s S70s,05 V70
- Location: Port Jefferson Long Island NY
- Has thanked: 1505 times
- Been thanked: 3818 times
Added part numbers to title for search
I went looking for info on these bolts
Are they single use?
What are the torque spec?
Can someone with VIDA FILL that info in here please?
I went looking for info on these bolts
Are they single use?
What are the torque spec?
Can someone with VIDA FILL that info in here please?
Empty Nester
A Captain in a Sea of Estrogen
1999-V70-T5M56 2005-V70-M56 1999-S70 VW T4 XC90-in-Red
Link to Maintenance record thread
A Captain in a Sea of Estrogen
1999-V70-T5M56 2005-V70-M56 1999-S70 VW T4 XC90-in-Red
Link to Maintenance record thread
-
scot850
- Posts: 14893
- Joined: 5 April 2010
- Year and Model: 2000 V70 R
- Location: Calgary, Alberta, Canada
- Has thanked: 1850 times
- Been thanked: 1710 times
I pulled a set of 6 bolts and the 3 link washers earlier this week. The bolts are re-usable (I have done so many times).
Sorry to be too late to this note as you could have had the bolts and links.
I will see if I can find the torque settings later on today for you. They use a 6mm Hex Key.
Neil.
Sorry to be too late to this note as you could have had the bolts and links.
I will see if I can find the torque settings later on today for you. They use a 6mm Hex Key.
Neil.
2006 V70 2.5T AWD Polestar tune
2000 V70 R - still being an endless PITA
2006 XC70 - Our son now has this and still parked in our garage
2003 Toyota 4Runner V8 Limited
2015 Kia Sportage EX-L - Sold
1993 850 GLT -Sold
1998 V70 XC - Sold
1997 Volvo 850 SE NA - Went to niece in California - Sold
2000 V70 SE NA - Sold
2000 V70 R - still being an endless PITA
2006 XC70 - Our son now has this and still parked in our garage
2003 Toyota 4Runner V8 Limited
2015 Kia Sportage EX-L - Sold
1993 850 GLT -Sold
1998 V70 XC - Sold
1997 Volvo 850 SE NA - Went to niece in California - Sold
2000 V70 SE NA - Sold
-
- Similar Topics
- Replies
- Views
- Last post






