Login Register

1995 850 starting (electrical?) issue

Help, Advice and DIY Tutorials on Volvo's P80 platform cars -- Volvo's 1990s "bread and butter" cars -- powered by the ubiquitous and durable Volvo inline 5-cylinder engine.

1992 - 1997 850, including 850 R, 850 T-5R, 850 T-5, 850 GLT
1997 - 2000 S70, S70 AWD
1997 - 2000 V70, V70 AWD
1997 - 2000 V70-XC
1997 - 2004 C70

Post Reply
Lost Dog
Posts: 14
Joined: 2 September 2006
Year and Model:
Location:

1995 850 starting (electrical?) issue

Post by Lost Dog »

I'm trying to get my 850 in running order so I can sell it...

I've got a serious starting issue. I put in a new, charged battery in and test with a multimeter (~12.7 volts). Try and start the car, the dash lights come on in the ACC key position and then get REALLY dim when starting. No clicking from the starter or turning over. Try that a few times and then check the battery again. This time it's down to ~9.5 volts.

I then try jumping the car and with the added boost I get the starter clicking and the engine turning over once or twice. If I'm lucky then about 1 out of 10 tries it will start. Once it's started it will continue to run fine until it's shut off.

I pulled the starter this afternoon and took it to the store to be checked. It passed with no problems. Now I'm at a dead end.

Suggestions on what I can check to try and get this going?!!?

Thanks!

Neil

DGM
Posts: 459
Joined: 23 December 2010
Year and Model: V70 2.4i 2005
Location: Quebec, Canada
Been thanked: 3 times

Post by DGM »

Verify your battery cables. Especially the positive pre-form terminal at the battery. They are often defective on these cars. They are looking fine on the exterior but are highly resistive inside. You can replace the terminal or the whole cable assembly (starter to battery).
Positive battery cable
Positive battery cable
Battery cable.jpg (4.8 KiB) Viewed 2127 times
http://www.fcpgroton.com/product-exec/p ... ory_id/113

To test it, start with a fully charged battery. Load your electrical system at idle with rear defrost, heated seats, blower fan to maximum. Then touch the terminal to see if it is overheating. It should stay cold (room temp). Take care not to burn your finger if you have a bad terminal.

Also you can test it by the voltage drop method. Look at this document if you want to use it.

A voltage drop of .25 volt or more is considered out of range.

http://www.prestolite.com/pgs_training/training_3.php
V70 2005 2.4i 195,000km, sold
S70 1998 T5 355,000km, sold
960 1994 80,000km, sold
760 1990 Turbo 265,000km, sold

Lost Dog
Posts: 14
Joined: 2 September 2006
Year and Model:
Location:

Post by Lost Dog »

Thanks for the pointers! I'll check out the cable. Is this the test you are referring to?

VOLTAGE DROP TEST - POSITIVE SIDE
1) Connect a voltmeter between positive battery terminal and generator B+ terminal. Start engine and run at 2000 RPM. Turn on headlights, rear window defogger and heater blower.
2) If voltage drop is more than .2 volt, check circuit between generator B+ terminal and starter for corroded or loose connections. Also, check circuit between starter and battery positive terminal.

DGM
Posts: 459
Joined: 23 December 2010
Year and Model: V70 2.4i 2005
Location: Quebec, Canada
Been thanked: 3 times

Post by DGM »

Yes. I would suggest to test the negative cable also.




-----------------------------------------------------------------------------

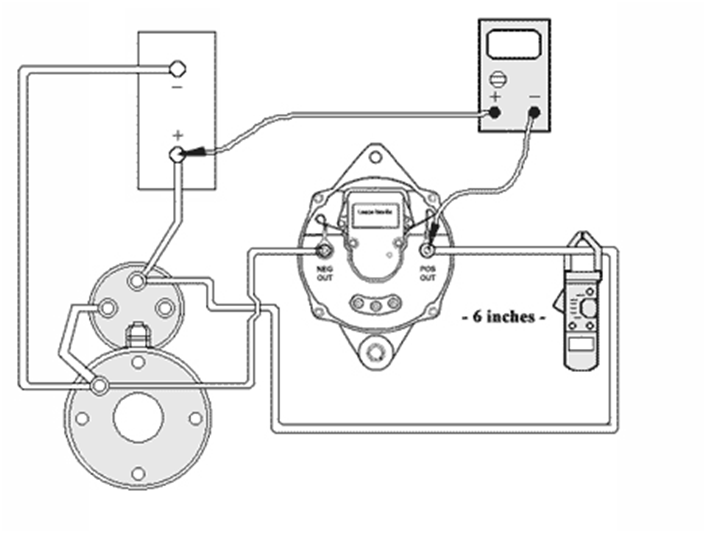
Alternator Cable Test. To test the positive cable connect the ammeter to the positive cable from the alternator. Make sure the ammeter is at least 6 inches (15 cm) away from the alternator to eliminate the possibility of faulty readings. Connect the voltmeter’s negative lead to the positive terminal of the alternator and the positive lead to the positive terminal on the battery, see Figure 14. Start engine and set engine RPM to 1500 RPMs (operating speed). Turn on vehicle loads until 75% of alternator’s rated output is achieved on ammeter display. If necessary use a carbon pile tester to apply load on alternator. Record voltage on voltmeter. If reading is greater than .25 volts in a 12 volt circuit or .50 volts in a 24 volt circuit check all wire connections and cable connections. If reading is less than .25 volts in 12 volt circuit and .50 volts in a 24 volt circuit cables are good. Turn off vehicle loads and shut off engine. To test the negative cable move voltmeter’s negative lead to the negative terminal of the battery and the positive lead to the negative terminal of the alternator, see Figure 15. Run test again.

Positive cable test.png
Positive cable test.png (108.32 KiB) Viewed 2112 times


Figure 14: Positive cable test



Negative cable test.png
Negative cable test.png (102.05 KiB) Viewed 2112 times


Figure 15: Negative cable test
V70 2005 2.4i 195,000km, sold
S70 1998 T5 355,000km, sold
960 1994 80,000km, sold
760 1990 Turbo 265,000km, sold

Lost Dog
Posts: 14
Joined: 2 September 2006
Year and Model:
Location:

Post by Lost Dog »

Great.... I'll give those a shot. This shows the alternator test but for the starter I'd use the same technique?

Will this work on a non-cranking car? I'd guess the starter test would work because I'd be measuring the drop during the starting process and if that cable is the issue I'd see a huge drop based on the fact I can't get it cranking.

If I can manage to get it started with the addition of a jump I'll see if the cable gets hot.

Thanks again!

DGM
Posts: 459
Joined: 23 December 2010
Year and Model: V70 2.4i 2005
Location: Quebec, Canada
Been thanked: 3 times

Post by DGM »

Right, during cranking the weak point will become hot. The positive terminal at the battery is often to blame :) .
V70 2005 2.4i 195,000km, sold
S70 1998 T5 355,000km, sold
960 1994 80,000km, sold
760 1990 Turbo 265,000km, sold

Lost Dog
Posts: 14
Joined: 2 September 2006
Year and Model:
Location:

Post by Lost Dog »

Ok...

I charged up the battery and the voltage was 12.5 volts. I touched one end of the multimeter to the starter positive and the other to the positive on the battery. This read 12.5 volts on the multimeter. When key was turned to start the starter did not engage but the reading on the multimeter dropped to about 6.3 volts for the entire time the key was in the "on" position.

I felt the cable but it was not warm at the battery terminal.

I also did a test to see if there was a minor draw somewhere in the system and the at rest pull was ~30 mA (drops to 20 mA when the radio fuse is pulled) so I don't seem to have a short somewhere. Oddly however if the battery is left in the car and attached it will be dead in a few hours. Strange.

At any rate, did I do the above cable test properly? If so do my results mean mine is dead (despite not feeling it get hot)?

Thanks again!

Neil

DGM
Posts: 459
Joined: 23 December 2010
Year and Model: V70 2.4i 2005
Location: Quebec, Canada
Been thanked: 3 times

Post by DGM »

Lost Dog wrote:
When key was turned to start the starter did not engage but the reading on the multimeter dropped to about 6.3 volts for the entire time the key was in the "on" position.

I felt the cable but it was not warm at the battery terminal.

At any rate, did I do the above cable test properly? If so do my results mean mine is dead (despite not feeling it get hot)?

Thanks again!

Neil
It means that your cable has a voltage drop of 6.3 volts. It is huge and rob the starter of his operating voltage. I understand that when you say "on" it is when you activate your starter.

Consequently you have a resistive contact somewhere on this cable. It could be the contact at the starter or the positive terminal.

If i would be you i would change the positive terminal at the battery...first :)

Rarely it is the cable itself.

You don't have a lot of cable lenght to work with but it can be done. You can find the terminal at any autoparts store.

Good work!
V70 2005 2.4i 195,000km, sold
S70 1998 T5 355,000km, sold
960 1994 80,000km, sold
760 1990 Turbo 265,000km, sold

Lost Dog
Posts: 14
Joined: 2 September 2006
Year and Model:
Location:

Post by Lost Dog »

DGM wrote:
It means that your cable has a voltage drop of 6.3 volts. It is huge and rob the starter of his operating voltage. I understand that when you say "on" it is when you activate your starter.

Consequently you have a resistive contact somewhere on this cable. It could be the contact at the starter or the positive terminal.

If i would be you i would change the positive terminal at the battery...first :)

Rarely it is the cable itself.

You don't have a lot of cable lenght to work with but it can be done. You can find the terminal at any autoparts store.

Good work!
Thanks for all the help! Basically I just take it down to clean wire and hook everything back up? I'll give this a go.

Thanks again!

Neil

Pauloil
Posts: 1038
Joined: 21 March 2006
Year and Model:
Location: davenport, IA

Post by Pauloil »

no, he said he would "change the positive terminal" and clean up the battery post
99 V70XC 158K

95 850glt 188K

Post Reply
  • Similar Topics
    Replies
    Views
    Last post