Happy Labor Day to you and yers!
Recent purchase. Sun roof is closed but won't operate. Sun shade will not close. Need advice on diagnosing/disassembly/repair.
Doesn't seem to be anything to do with the alarm. Alarm is functioning, wife accidentally set it off a few days ago.
Don't have a clue as to how to get at the innards of the damn thing.
Any advice will be greatly appreciated.
Apparently it leaks...it was well sealed up w/Duct tape which prevented leakage but today on the freeway most of the tape peeled off.
I'm headed to Lowe's to git sum tape and am gonna retape it.
I've downloaded a couple, actually six, pdfs but still am unsure how to proceed.
Thanx fer takin the time to read and, hopefully, reply.
Take care and stay safe
Roger
2001 V70 Station Wagon Sunroof
-
Fishinmagician
- Posts: 9
- Joined: 2 June 2021
- Year and Model: 2001 v70t
- Location: Lacey, WA USA
- DonnVa
- Posts: 239
- Joined: 10 July 2020
- Year and Model: 2005 XC70
- Location: Mechanicsville, VA
- Has thanked: 21 times
- Been thanked: 60 times
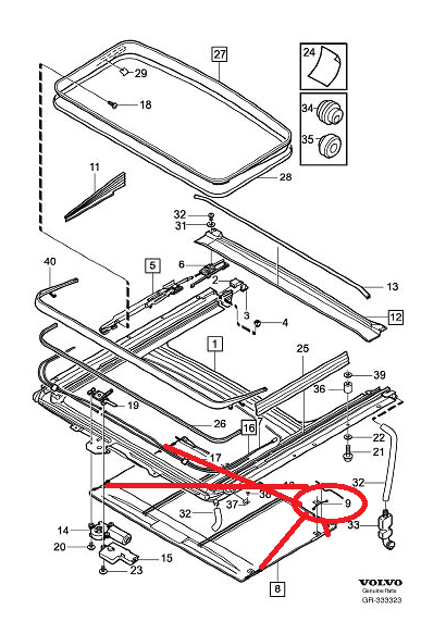
I replaced my sunroof assembly this past spring. The only way to fix it is to take it out. You will need to take out your headliner. Your sunroof assembly bolts to the roof. I would suggest that you pick up a good looking sunroof at your local pick a part and take the headliner if it looks good too.
2005 XC70 Cross Country 2.5T 185k miles
1962 122s 4dr 100k+ TMU
-Previous-
2007 S60 2.5T
1996 850 GLT
1974 164E
-Notable-
1983 911sc
1994 325i
2007 335 coupe
30 + other cars and trucks
1962 122s 4dr 100k+ TMU
-Previous-
2007 S60 2.5T
1996 850 GLT
1974 164E
-Notable-
1983 911sc
1994 325i
2007 335 coupe
30 + other cars and trucks
- DonnVa
- Posts: 239
- Joined: 10 July 2020
- Year and Model: 2005 XC70
- Location: Mechanicsville, VA
- Has thanked: 21 times
- Been thanked: 60 times
I’m sure the previous owner removed the fuse to disable it if it’s broken, mine was. I ran a bead of this black polyurethane sealant around my sunroof in between the gasket and the body of the car. Cleaned it up and it looked great. More importantly it didn’t leak while I was coming up with a game plan to fix. The sealant just peels right off later so it was easy to reverse. There is another product that I’ve used called 3M Windo-weld. It’s more expensive though.
- Attachments
-
- 083B7813-1C2D-4C0B-8047-B2474104EE91.jpeg (168.24 KiB) Viewed 652 times
2005 XC70 Cross Country 2.5T 185k miles
1962 122s 4dr 100k+ TMU
-Previous-
2007 S60 2.5T
1996 850 GLT
1974 164E
-Notable-
1983 911sc
1994 325i
2007 335 coupe
30 + other cars and trucks
1962 122s 4dr 100k+ TMU
-Previous-
2007 S60 2.5T
1996 850 GLT
1974 164E
-Notable-
1983 911sc
1994 325i
2007 335 coupe
30 + other cars and trucks
MDK here.. ok boys and girls. Sunroof by day.. moonroof by night. sunroofs don't leak. or I should say they don't seal . there are 4 drain tubes at the 4 corners of the panel
the glass sits in what is called a tub.. these tubes get clogged over time and need to be blown out with air orr whatever you can come up with. as far as not opening.. I would check a relay or perhaps the switch itself.. in all my experience I've never had to replace a motor... I did replace the sunroof on my 1998 XC70 because the glass literally flew out of the track going down the highway.. I had it in venting mode... tipped up.
the glass sits in what is called a tub.. these tubes get clogged over time and need to be blown out with air orr whatever you can come up with. as far as not opening.. I would check a relay or perhaps the switch itself.. in all my experience I've never had to replace a motor... I did replace the sunroof on my 1998 XC70 because the glass literally flew out of the track going down the highway.. I had it in venting mode... tipped up.
- Attachments
-
- products-Volvo-XC90-Sunroof-Panel-Clips.png (54.81 KiB) Viewed 638 times
-
- Similar Topics
- Replies
- Views
- Last post
-
- 2 Replies
- 1218 Views
-
Last post by tryingbe
-
- 0 Replies
- 638 Views
-
Last post by volvo960sw






